中国汽车工程师之家--聚集了汽车行业80%专业人士 

论坛口号:知无不言,言无不尽!QQ:542334618 

本站手机访问:直接在浏览器中输入本站域名即可 

  • 1521查看
  • 0回复

[设计匹配] 新能源汽车里面的配电系统和E-Fuse

[复制链接]


该用户从未签到

发表于 27-8-2023 10:30:58 | 显示全部楼层 |阅读模式

汽车零部件采购、销售通信录       填写你的培训需求,我们帮你找      招募汽车专业培训老师


之前针对新能源汽车接线盒学习交流时候,朋友提到特斯拉已经大量采用E-Fuse,提升了整车的配电和用电安全;在大功率充电桩文章里面可以看到大量的应用了熔断器,继电器等安全配电器件;在介绍BCM时候,提到了高低边开关;

本文总结下新能源汽车整车配电用电的变化,E-Fuse(Smart Fuse)及其在配电的应用;

本文目录:



    新能源汽车配电系统升级

    什么是E-Fuse,其原理是什么

    E-Fuse的工作逻辑


1

新能源汽车配电系统升级

传统车的配电系统,ECU主要通过保险丝和继电器完成车载电器的电源控制,包括钥匙开关继电器、灯光继电器、喇叭继电器等,还有一些常供电的负载直接通过保险丝接蓄电池正极,如下图
新能源汽车里面的配电系统和E-Fusew2.jpg

传统保险丝或者继电器/熔断器有如下劣势

    传统的保险丝在保护时会被熔断或者破坏过流和短路保护速度慢,线束和用电器长时间大电流情形下会加速老化保险丝作为传统的电器件,无法实现诊断功能继电器的理想寿命是10万次,有限制


随着汽车智能化,电气化的不断升级,更小、更轻、更智能、更容易安装的智能电器盒出现了,特斯拉率先在MODEL 3中采用E-Fuse替代保险丝和继电器进行配电;

E-Fuse有什么优势呢?


    重复使用:通断操作通过打开和关闭MOSFET来实现的

    可监测:能实现电流、电压检测等功能

    过压保护:能限制向后级的输出电压

    过流保护:E-Fuse能够在电路大幅超过限制电流时,迅速切断回路,时间仅150us

    热保护:过流、过压情况下都会产生大量的热量,当温度超过一定值时,E-Fuse关闭不输出,从而保护E-Fuse。

    反向电流阻断:对于反接,感性负载产生的反向电压导致的反向电流进行阻断


那么,采用E-Fuse的系统,有什么优势呢?

新能源汽车里面的配电系统和E-Fusew3.jpg

2

什么是E-Fuse

E-Fuse,和之前MCU文章介绍的E-Fuse不一样,这里的E-Fuse,是一种基于半导体实现的,可以提供用电安全保护的电路,一般由MOSFET作为开关,并配置驱动,采样,保护等电路形成如下是TI基于高低边开关,或者驱动器+MOSFET实现的E-Fuse方案
新能源汽车里面的配电系统和E-Fusew4.jpg

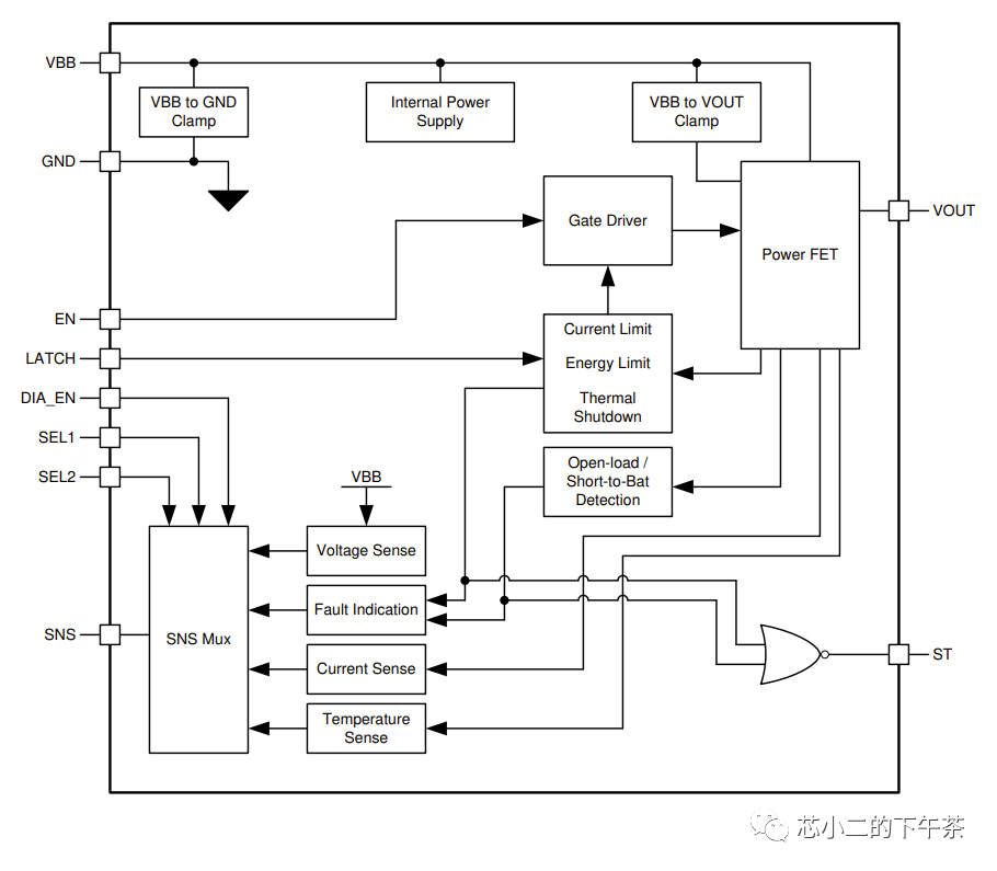
如下是集成MOSFET的高边开关 TPS1HA08的框图

新能源汽车里面的配电系统和E-Fusew5.jpg

如下是基于驱动DRV8106+外置MOSFET实现的高边E-Fuse示意图

新能源汽车里面的配电系统和E-Fusew6.jpg

3

E-Fuse的工作逻辑

小二理解,E-Fuse最重要的一点,是利用了MOSFET的SOA的特性,结合电压检测,电流检测,温度检测等,对MOSFET继续开关;

SOA如下图

新能源汽车里面的配电系统和E-Fusew7.jpg

A线  是由导通电阻RDS(on)max[ID=VDS/RDS(on)]限制的区域。该区域一般与ASO区域分开讨论。

B线 是受最大额定电流IDC(稳态直流)、ID(pulse)(脉冲)max限制的区域。即:Ids能够承载最大电流限制的线。

C线 是受通道损耗(Channel dissipation或者Channel loss,ID流经DS这是主要功率产生的功耗)限制的区域,电流和电压的乘积的最大值,即额定功耗限制的线路。

D线 是Vds的额定电压相关,受耐压VDSsmax限制的区域。

E线 是二次击穿限制, 与双极晶体管中的二次击穿区域类型相同,该区域在连续运行或以相对较长的脉冲宽度(几毫秒或更长)打开的条件下出现。

更多解释,可以搜索:功率MOSFET安全工作区SOA:真的安全吗?



该用户从未签到

发表于 18-3-2025 23:23:00 | 显示全部楼层
新能源汽车配电系统随着技术的发展正在经历重大升级。其中,E-Fuse(智能保险丝)作为关键元器件,已广泛应用于新能源汽车的配电系统中,特别是在特斯拉等领先企业中。E-Fuse不仅集成了传统保险丝的功能,还融入了智能监控和诊断技术,提升了整车配电和用电的安全性。

关于新能源汽车配电系统升级,传统车的配电系统主要依赖保险丝和继电器进行电源控制。然而,随着新能源汽车的发展,配电系统变得更加复杂和智能化。现代新能源汽车的配电系统引入了更多的电子元件和软件控制策略,以提高效率和安全性。

关于什么是E-Fuse及其原理,E-Fuse是一种智能保险丝,其原理结合了传统保险丝的功能和现代电子技术。它具备实时监控电流、电压和温度等功能,一旦发现异常,能够迅速切断电路,防止设备损坏。其内部集成了传感器和控制单元,能够实现更精确的电流控制和故障诊断。

至于E-Fuse的工作逻辑,它基于预设的安全阈值进行工作。当电路中的电流、电压或温度超过预设的安全范围时,E-Fuse会自动切断电路,从而保护整车电气系统不受损坏。同时,它还能通过诊断接口向车辆控制系统发送故障信息,便于维修人员进行故障诊断和排查。
回复 支持 反对

使用道具 举报



该用户从未签到

发表于 18-3-2025 23:23:00 | 显示全部楼层
好的,我来回复您关于新能源汽车配电系统的升级和E-Fuse技术的相关讨论。

新能源汽车配电系统升级

随着新能源汽车技术的飞速发展,其配电系统也在不断升级,以适应更高电压、更大电流以及更复杂的应用场景。例如,电动车配电系统中开始广泛使用更加高效的电机控制器(MCU)、电池管理系统(BMS)等核心部件,对整车用电的安全性和效率提出更高要求。传统汽车的配电系统以物理继电器为主,而随着技术的进步和车辆电气化程度的提升,配电系统开始向智能化、网络化方向发展。在新能源车的电气架构中,电池包及其相关控制系统的重要性尤为突出,涉及到车辆的电气安全和效率优化等方面。这些发展背后都是先进的研发思路和大量实际工程应用的经验累积。

关于什么是E-Fuse以及其工作原理:

E-Fuse即智能熔丝技术是一种现代化的电力管理和控制解决方案,它的主要特点是兼具断路器、熔断器和常规继电器的功能。其核心原理是采用先进的半导体技术,通过实时监测电流和电压状态,在检测到异常时迅速切断电路,从而保护整个系统免受损害。与传统的机械式保险丝相比,E-Fuse反应更为迅速,可以实现精确的电力管理和更高的安全性能。因此在新一代的新能源汽车配电系统中得到广泛应用。具体的特性和工作逻辑细节可进一步深入研究和探讨。
回复 支持 反对

使用道具 举报

快速发帖

您需要登录后才可以回帖 登录 | 注册

本版积分规则

QQ|手机版|小黑屋|Archiver|汽车工程师之家 ( 渝ICP备18012993号-1 )

GMT+8, 10-4-2026 23:52 , Processed in 0.397572 second(s), 38 queries .

Powered by Discuz! X3.5

© 2001-2013 Comsenz Inc.