特斯拉感应电机转子专利解析
应用在特斯拉(Tesla)Model S的感应电动机铜芯转子是一项创新的技术,即专利US20130069476。我将它称为工程师的艺术,用精妙来称赞它也不足为过。
以下为文章全文:(本站微信公共账号:cartech8)

汽车零部件采购、销售通信录 填写你的培训需求,我们帮你找 招募汽车专业培训老师
应用在特斯拉(Tesla)Model S的感应电动机铜芯转子是一项创新的技术,即专利US20130069476。我将它称为工程师的艺术,用精妙来称赞它也不足为过。 我很喜欢这项专利,会尽量将它讲述得精彩一些。这项专利2014年和Tesla的其他专利一并公开,从此可以一窥其中的巧妙之处。 1. 首先卖个关子,在永磁同步电机占据大半壁江山的局势下,为什么Tesla要选择感应电动机? 电动汽车/混合动力汽车的电机解决方案一般有:感应电动机(即交流异步电动机),永磁同步电动机,开关磁阻电机三种。其中开关磁阻电动机震动、噪声较大,在大型客车上有所应用,而乘用车领域多为前两者,即感应电机或永磁同步电动机。说起感应电机和永磁同步电机的转子区别,从材料上看可以简单认为:除了两者都需要使用的硅钢片,永磁同步电机中使用了永磁材料,感应电机的转子则通常用铝或铜来制造。 那么感应电机和永磁同步电动机比较起来,二者孰优孰劣?我作了一张简单的图对比了它们的性能。
从性能上看,永磁同步电机在瞬态仍然可以保证较高的效率,同时有着更大的功率密度,因此适用于频繁起停的工况以及较小的乘用车布置空间。而感应电动机胜在成本低、可靠性更高,同时稳态的效率也不错(大部分工况85%~90%以上),因而在高速路网发达的工况以及较大的乘用车布置空间的条件下,感应电机可以满足需求。 此外,另一个很重要的因素是:永磁同步电机所需要的钕铁硼永磁材料是稀土资源,对于稀土资源缺少或稀土工业不发达的国家而言,车用动力电机的技术方案是与国家安全相关的。 综合以上因素,应用两种解决方案的国家与地区如下图:
当然,也并不能一概而论地说,欧美英所有的电动车都使用了感应电机,永磁同步电机或铁氧体同步电机(这个技术也避免了永磁材料的使用)等技术方案在欧美英同样存在。而对于我国和日本而言,我国拥有全球70%的稀土资源,钕铁硼磁性材料的总产量达到全球的80%(尽管高端钕铁硼产量有限)。日本则是稀土产业的大国,世界销量前三的钕铁硼公司:住友特殊金属公司、新越化学实业公司和TDK集团都是日本公司,其实力可见一斑。 因而Tesla选择感应电机是更可靠(没有退磁风险)、低成本(永磁材料成本占到同步电机材料成本的70%)、高效率的解决方案。至于Tesla是怎么将感应电机做到更加高效,就要看铜芯转子的技术了。 2. 铜芯转子的优点与制造 感应电动机的主流结构叫做鼠笼电机,名字的来源是由于它的转子结构好比就是一个鼠笼:
在工业感应电机的生产制造中,这样的鼠笼通常都是用铝铸造而成,铝有着较好的电导率和较低的熔点(660.4℃)成本也有优势,因而铸铝转子成为了感应电机转子的主流。 但是使用铸铝转子的感应电机效率有限,难以更进一步,如果使用电导率更高的铜来制作鼠笼,电机的效率将会显著提升! 不同金属材料的电导率如下图(蓝色线是铜,粉色线是铝):
但是问题来了,既然铜有百般好,为什么却不用它?原因是铜的熔点高(1083℃)、铜芯转子难以制造。 首先来看用铸造的方法来生产铜芯转子,在AC Propulsion和MIT关于铸铜转子的合作研究中,研究者尝试通过铸造相同尺寸的铜芯转子电机,来对比不同的铸铜工艺。他们先是尝试制造了直径为6英寸的转子,结果出现了下图的情况:
由于铸铜端环气泡过多、无法进入间隙等问题,6英寸的铜芯转子无法通过铸造方案制造出来。于是他们转而制造了3英寸的铜芯转子进行实验。 从该研究中,可以看出较大尺寸的铜芯转子对铸造有着极高的工艺要求,可靠的铸铜工艺还很罕见。 那么转而使用焊接呢?实际上,通过焊接手段制造铜芯转子是主流的技术手段,它的制造过程是这样的:先将铜条插在转子槽中,再在两侧焊上端环(端环通常使用离心铸造法制造,离心铸造的工艺可以排出其中的杂质和气泡),如下图:
但制造铜芯转子的焊接工艺需要采用感应钎焊,成本较高。且由于电机转子的工作条件,对焊接点的强度要求比较大。如果焊接点出现损坏,轻则影响整个电机的性能,重则造成转子损毁。 永磁体昂贵、铸铝转子效率低、铸铜转子工艺难度大、焊接铜工艺成本高,在这样的情况下,Tesla Motors是怎么做的呢? 3. Tesla的专利Rotor Design for An Electric Motor 先是与焊接鼠笼技术方案相同,将铜条插入了转子槽中,插完之后效果如下图:
实物差不多是这个样子:
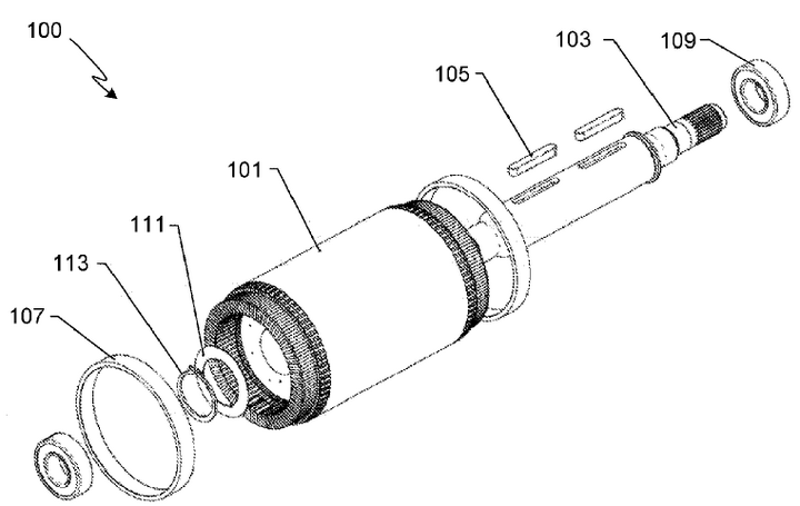
然后,下一步本应该是焊接端环,而Tesla却另辟蹊径! Tesla制造了一组表面镀银的铜质楔子,将这些楔子插入了铜条端部的间隙之中,这样一个机械构造的端环就制造完成了!
(楔子形状)
(转子端部爆炸图)
(转子轴向视图) 插完楔子之后,在楔子和铜条之间进行焊接,这个焊接要求比焊接方案中端环的感应钎焊成本、难度都低多了。焊接之后,再在两端箍上禁锢环(下图中107部件):
禁锢环的配合有效保证了转子的机械强度,实物如下图:
这个专利用巧妙的方案完成了低成本、高效率的铜芯转子制造,堪称Tesla的核心技术之一。 这一项技术曾是Tesla关于电机的秘密,我在阅读专利之前对此一无所知,仅仅是阅读的过程就犹如揭秘,十分过瘾,想来如果亲身参与机器的研发,一定是满满的得意! |
文章网友提供,仅供学习参考,版权为原作者所有,如侵犯到
你的权益请联系542334618@126.com,我们会及时处理。



















会员评价:
共0条 发表评论