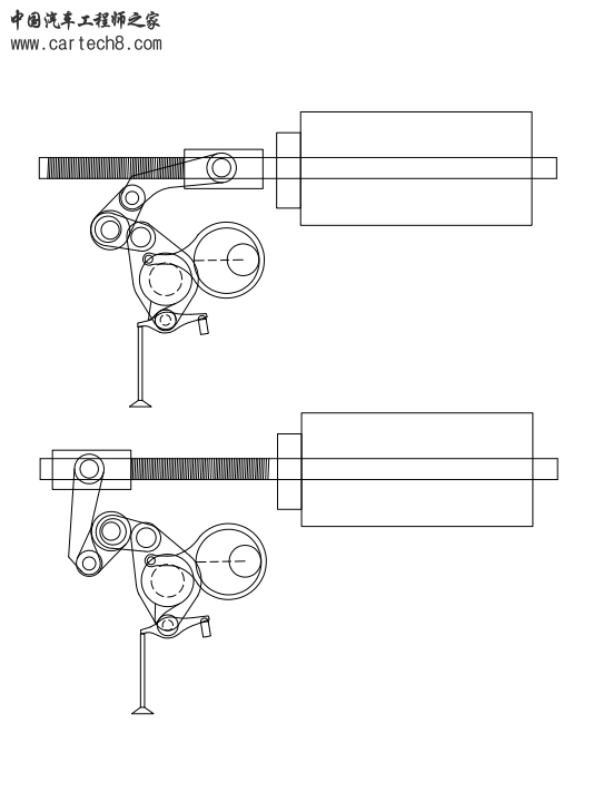
发动机连续可变气门正时、相位及升程技术,请大家多指教
一种能够连续可变气门正时、相位及升程的技术
以下为文章全文:(本站微信公共账号:cartech8)

汽车零部件采购、销售通信录 填写你的培训需求,我们帮你找 招募汽车专业培训老师
文章网友提供,仅供学习参考,版权为原作者所有,如侵犯到
你的权益请联系542334618@126.com,我们会及时处理。
一种能够连续可变气门正时、相位及升程的技术
以下为文章全文:(本站微信公共账号:cartech8)

文章网友提供,仅供学习参考,版权为原作者所有,如侵犯到
你的权益请联系542334618@126.com,我们会及时处理。
|手机版|小黑屋|Archiver|汽车工程师之家
( 渝ICP备18012993号-1 )
GMT+8, 19-11-2025 09:38 , Processed in 0.262358 second(s), 23 queries .
Powered by Discuz! X3.5
© 2001-2013 Comsenz Inc.
会员评价:
共13条 发表评论发表我的评论