特斯拉日产本田电池防水性能揭秘
作者:知乎 电动汽车电池组的防水性能与电池组的设计紧密相关,特别是电池组的热管理系统设计。风冷设计的电池组一般需要有进风口和排风口,因此水有可能从风口进入电池组。相比之下,液冷设计电池组更容易提高密封 ...
以下为文章全文:(本站微信公共账号:cartech8)

汽车零部件采购、销售通信录 填写你的培训需求,我们帮你找 招募汽车专业培训老师
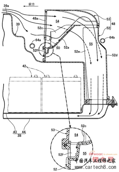
| 针对2014年5月10日起深圳暴雨导致许多汽车无法继续行驶的事件,有网友询问:“请问混合动力汽车和纯电动车能够避免在这种情况下抛锚吗?车用电力传动系统的防水性能如何?”以下回答来自动力工程爱好者吴彬。 1. 内燃机汽车/混合动力汽车 水是不可压缩的流体,进入正在运转的发动机后,会使发动机的活塞和缸体产生非常严重的破坏。另外,排气系统的三元催化转化剂和消音器也会受到水的损坏。 混合动力车与传统内燃机汽车一样配备了发动机和进、排气系统,因此也存在这些问题。 2. 纯电动汽车 纯电动汽车涉水过程中需要特别关注电池组的防水性能。电动汽车的电池组重量较重,一般放置在车体的底部,在路面积水较深时电池组可能会被淹没,此时电池组的防水性能就会显得尤为关键。某些电动公交车的电池组放置在车顶,此时电池组的防水问题就相对容易解决。电池组的防水性能与电池组的设计紧密相关,特别是电池组的热管理系统设计。风冷设计的电池组一般需要有进风口和排风口,因此水有可能从风口进入电池组。相比之下,液冷设计电池组更容易提高密封性。 a. 自然冷却 日产LEAF采用的是自然风冷设计,整个电池组没有与外界相通的风口,因此密封性非常好。日产在开发过程中也进行了大量的实验,比如把电池组浸泡在水中长达1个小时都没有发生渗水等异常情况。 b. 液体冷却 GM Volt和特斯拉的两款车型都采用了液冷设计。对于采用这种冷却方案的电池组,不需要外界空气进入电池组内,因此电池组的密封性可以做得很好,应该也不存在问题。 c. 强制风冷设计 本田的Fit EV采用的是强制风冷设计,电池包放置在车厢底板。这种设计从直觉上看是容易出现电池组进水问题的。 但是本田在设计电池组的进风口、出风口时还是考虑了很多。下图是从本田专利里找到的图, 排气口49和进气口48放置在电池包的上方,使路面溅起的尘埃和水不易进入电池包。排气通道放置在冷却风扇(47)与车室(25)之间,减小了冷却风扇传向的振动与噪音;而且由于通道在风扇上方 ,即使有水从风扇进入,也能防止水向冷却通道侵入。电池托盘38是将上部板43和下部板44结合而成的构件,在上部板43和下部板44之间形成有供冷却空气流动的冷却通路,从而电池托盘38与和上部板43的上表面接触的电池模块42之间进行热交换,将因充放电而发热的电池模块42冷却。 因此,进入的冷却空气不会直接与电池接触,而是通过托盘将热量带走。换句话说,如果进入冷却管道的是水,也不会浸泡到电池。 关于这个电池组的设计,还有一些值得借鉴的地方: 进风口设计 由于将吸入管道48配置在电池罩39的后端上部,并且在电池罩39上设置朝向车室25侧向上突出的凸部39a,且将吸入管道48配置在电池罩39的凸部39a的后方,因此能够通过电池罩39的凸部39a遮挡车辆的行驶中从车身前方侧分散过来的尘埃或水,从而能够不易将尘埃或水从冷却空气吸入口 48a吸入到电池罩39的内部。 吸入管道48通过其特殊的形状能够将冷却空气中所含的水有效地分离而防止侵入到电池托盘38的内部。即,从吸入管道48的冷却空气吸入口 48a的下部吸入到上游侧吸入通路54的冷却空气在沿着向上倾斜的底壁52a上升的过程中,通过朝向下游侧扩开的纵壁52c向左右分支,并通过与底壁52a及纵壁52c的接触而将水分离之后,冷却空气从底壁52a的下游端向下偏转而流入下游侧吸入通路55。从冷却空气分离出的水在重力作用下沿着纵壁52c及底壁52a流下,从其下方的排水孔52f排出到吸入管道48的外部。 如上所述,通过设置在吸入管道48的内部的底壁52a及纵壁52c来有效地捕捉冷却空气中的水,防止水向电池托盘38的内部侵入,同时通过在底壁52a上设置切口 52b来增加流路截面积,将设置底壁52a及纵壁52c所引起的冷却空气的压力损失的增加抑制成最小限度,从而能够有效地同时实现水的分离及压力损失的减少。 整体结构设计 由于吸入管道48的冷却空气吸入口 48a朝向车身前方开口,排出管道49的冷却空气排出口 49a朝向车身后方开口,所以从冷却空气排出口 49a排出的热交换后的温度上升了的冷却空气不易从冷却空气吸入口 48a再次吸入到电池托盘38内,从而能够防止冷却空气的再循环所带来的电池模块42的冷却效率的降低。由于冷却空气排出口 49a朝向车身后方且车宽方向外侧开口,因此能够通过沿车身的左右两侧面流动的行驶风将从冷却空气排出口 49a排出的冷却空气推向后方而不易滞留在电池组附近。
|
文章网友提供,仅供学习参考,版权为原作者所有,如侵犯到
你的权益请联系542334618@126.com,我们会及时处理。






会员评价:
共1条 发表评论发表我的评论